 |
|
| 专利名称: |
用于Carius管原位蒸馏Os在线测量的连接装置 |
| 专利名称_英文: |
|
| 专利类别: |
发明专利 |
| 申请号: |
2011101120384 |
| 专利号: |
ZL201110112038.4 |
| 申请日期: |
2011-04-29 |
| 发明人: |
靳新娣, 李文君, 相鹏, 张连昌 |
| 其他发明人_英文: |
|
| 国外申请日期: |
|
| 国外申请方式: |
|
| 国外申请方式_英文: |
|
| 专利授权日期: |
2014-08-13 |
| 缴费情况: |
|
| 缴费情况_英文: |
|
| 实施情况: |
|
| 实施情况_英文: |
|
| 专利权人: |
|
| 其他备注_英文: |
|
| 专利证书号: |
|
| 专利摘要: |

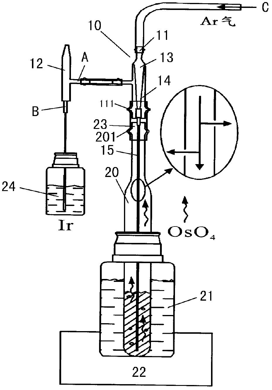
一种用于Carius管原位蒸馏Os在线测量的连接装置,整体为一玻璃管,该玻璃管的上端为载气进气口;该玻璃管内为同轴心的内外两层管,其内层管为载气通道,其外层管为Os蒸汽和载气混合气的混合气通道;该载气通道的一端与载气进气口的内壁密封连接,以避免载气外泄以及Os蒸汽和载气的混合气体进入载气通道中;载气通道的另一端连接毛细管;混合气通道的一侧开设有一连接雾化器的载气口的接口;Carius管的出气口与玻璃管的外壁密封连接,载气通道连接的毛细管插入Carius管底部;混合气通道一侧开设的接口连接至接雾化器的载气口。本发明造价低廉,体积小,清洗方便,节省了大量清洗蒸馏器皿的时间及试剂。 |
| 专利摘要_英文: |
|
| 国外授权日期: |
|
|
 |
|