透射电子显微镜(Transmission Electron Microscope,简称TEM)具有优异的空间分辨率,可以对微-纳米尺度样品进行形貌、成分、晶体结构与缺陷和原子像等方面的分析表征,广泛应用于材料科学、地球科学、生物科学等领域以及金属、合金和半导体等领域。三维原子探针显微镜(3-Dimension Atom Probe Microscope,简称3D APM/APT)是一种用于实现亚纳米尺度、样品原子3D成像的技术,该技术的工作原理为:在针尖状的样品加载高压电场,并将样品的尖端通过UV激光加热,在蒸发时,原子电离然后被电场加速至一个位置从而撞击灵敏探测器的探头,结合离子撞击探头的顺序和灵敏探测器的x-y坐标,重构出样品中原子的初始状态。当前,随着纳米科学的发展,出现了这样的技术:综合利用上述的TEM和3D APM技术对样品进行分析,具体地:首先对样品进行TEM的微区成分和结构分析,在此基础上对样品进行3D APM的实验表征,从而实现对样品的形貌-成分-结构-原子状态等全方位的表征,未来将成为重要的物质微区原位分析的技术手段。
TEM实验和3D APM实验对样品要求极高。TEM测试通常要求样品的厚度不能超过100 nm,如果要进行原子像的观测,则要求厚度小于50 nm。目前主要采用两种技术制备TEM样品:1)使用常规的离子减薄法和电解双喷法制备直径≤3 mm、厚度≤100 n的TEM样品;2)使用先进的聚焦离子束技术(Focused ion beam system,简称FIB)制备长、宽、厚≈10 μm×5 μm×0.1 μm的TEM薄片样品,然后将其粘接在直径3 mm、厚度约30 μm的月牙状FIB金属载网上,最后用于TEM实验。3D APM要求样品必须是极小的针尖状,其样品制备是利用FIB技术进行环形的切割和减薄,制备的针尖状样品尺寸为尖端直径约40 nm、针尖半高宽处直径约130 nm,然后将其粘接在3D APM样品台的硅柱上进行3D APM实验,或者粘接在半月牙的TEM金属载网上,依次进行TEM实验和3D APM实验。
根据前述的描述可知,无论是TEM样品,还是3D APM样品,样品的尺寸都在微-纳米尺度,更多是在纳米尺度,具有脆弱且比表面积大的特点。因此,样品极易在空气中发生氧化而改变本征结构状态,其次,超薄样品还会与空气中的物质作用形成碳氢污染物和非晶层结构。而在实际实验中,由于客观的仪器条件和实验需求变化等因素,一方面制备的样品经常无法快速开展实验,另一方面制备的样品常常需要多次、重复的实验来满足最终需求,在此过程样品都极易发生碳氢污染和氧化问题,从而影响最终的实验结果。目前,普遍采用真空存储的方式来保证样品的新鲜,处理方式是通过第三方真空媒介快速将待测样品转移到TEM的真空腔室中进行实验,以避免样品由于暴露在空气中而发生氧化和污染等现象。然而,这样的处理方式存在以下缺点:1)真空转移方法一次只能转移一个样品到检测设备来实验,样品量极少,保持样品新鲜能力低;2)不同的设备之间精密配合成本极高;3)目前并没有标准的针对TEM样品和3D AP样品转移的精密装置,因此样品极有可能因为不合适的转移方式在转移过程中出现比氧化和污染更严重的问题,如由于样品在转移期间发生掉落而被损坏等等。因此,本领域需要一种新的技术方案来解决上述问题。
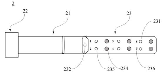
近期,中科院地质与地球物理研究所电子显微镜实验室唐旭工程师等人公开了一种微纳尺度样品真空存储装置,该装置包括:至少一个能够形成真空环境的存储工位;微纳尺度样品搭载组件,其包括杆体21以及分别设置于所述杆体的第一端和第二端的封堵部分22和搭载部分23,所述微纳尺度样品搭载组件2能够沿从所述封堵部分到所述搭载部分的方向伸入所述存储工位,并且在完全伸入的状态下,所述封堵部分和所述存储工位密封连接;其中,所述搭载部分23包括基体,所述基体上设置有样品安置单元,所述安置单元包括多个安置位,每个所述安置位能够将至少一个微纳尺度样品保持于其中。实际操作过程,将多个样品搭载于同一个搭载组件2之后,将其推入存储工位,启动真空泵组在存储工位内形成一个真空环境,从而实现了样品的真空存储,避免了样品被氧化和污染的问题出现。通过这样的设置,可以谋求一次性保存更多的微纳尺度样品的技术效果。

图1微纳尺度样品真空存储装置的结构示意图

图2 弹簧压片的结构示意图

图3第一种实施例的搭载组件(仅用于TEM样品)的结构示意图

图4 第二种实施例的搭载组件(仅用于搭载3D APM样品)的结构示意图

图5 第三种实施例的安装部分(可同时装载TEM金属载网和3D APM样品)

图6 3D APM样品台的结构示意图
研究成果获得国家知识产权局专利授权。(唐旭,刘程鹏,邓青松. 微纳尺度样品真空存储装置. 中国发明专利:CN111307847B. 2021)。本发明受中国科学院仪器设备功能开发项目(IGG201902)的资助。