中科院800彩票工程地质与水资源研究室李丽慧副研究员等人完成的“可用于量测地下洞室顶板下沉的测头上指式溢流测量仪”发明专利近日获得国家专利授权,其专利号为:ZL201210230986.2。
地下洞室在一定条件下可能发生较大的变形破坏甚至塌方,所以顶板下沉量的长期监测十分重要。另外,岩石的流变特性是岩石的重要特性之一,随着岩体工程规模的扩大以及对超长安全时限的要求,岩石流变性质的研究越来越得到重视。把古工程的长期变形看作现场1:1力学实验,进而在长期监测的基础上反演岩石的长期强度无疑是获取岩石真正意义上长期强度的极佳途径。虽然已有一些顶板下沉监测技术,但现有监测技术或多或少存在着某些不足,“可用于量测地下洞室顶板下沉的测头上指式溢流测量仪”的发明专利以相对优于其他技术顺利获得国家专利授权。该发明包括测量筒、溢流筒、经改装的百分表、立杆及连接测量筒和溢流筒的连通管。


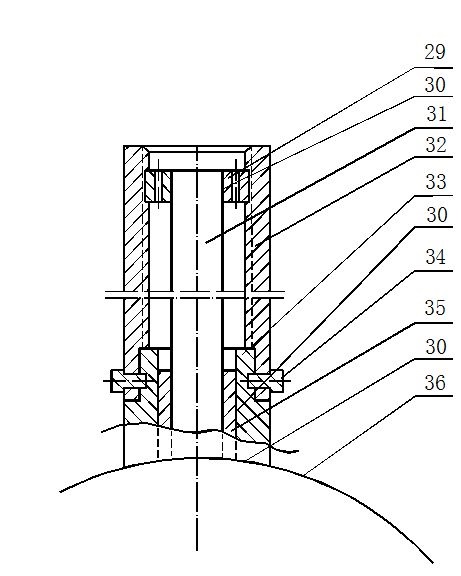
附图标记说明:1.螺帽;2.测量筒立脚; 3.测量筒底盘;4.注水口;5.百分表;6.顶盖测量孔;7.横测板;8.多节测量杆;9.测量筒顶盖;10.针尖式测头;11.水面;12.测量筒透明筒体;13.测量筒空心插管;14.测量筒O形环;15.测量筒固定点;16.顶板待测点;17.珠形测头;18.立杆;19.长度调节杆;20.溢流筒上盖;21.溢流倒三角口;22.溢流筒透明筒体;23.溢流筒接水盘;24.溢流筒空心插管;25.溢流筒的O形环;26.圆形水泡;27.临时支杆接头;28.连通管; 29.提压件;30.胶;31.传递杆;32.外连接件;33.内连接件;34.小圆杆件;35.保护套;36.百分表圆外壳
古洞室开挖后会引起顶板的垂向位移,这个位移是随着时间的推延而发生变化的。一方面,该下沉量可以进行有关岩体弹性模量和粘滞系数等反分析;另一方面,对古洞室顶板的下沉量的监测还可以对顶板形状和变形现状进行量测,并对其变形趋势进行预测,从而预防顶板产生严重破坏以至塌方等。这将有助于洞室顶板稳定性的评价和作出有关洞室长期保护对策的制定。本发明的三个优点体现在:(1)精度高:测量结果可以满足对围岩的弹性模量和粘滞系数进行反演的精度要求;(2)携带和操作方便:本发明的主体结构为一套百分表测读装置、一个立杆、两个透明筒体,一套测量筒立脚和一根连通管,上述部件可以自由拆装;(3)成本较低:采用本发明技术量测顶板下沉面的原理清楚,仪器结构简单,造价低,因此量测成本也很低。
测头上指式溢流测量仪用途比较广泛,它不仅可以测量现代人工开挖的地下洞室(如地下厂房、隧道、地铁等)的顶板下沉,还可用于古代人工开凿的地下洞室和天然形成的地下洞穴(如岩溶洞穴、火山岩洞穴等)。