近日,中科院800彩票纳米离子探针实验室郝佳龙工程师等人完成的“一种锆石微量元素及锆石/岩浆微量元素分配系数测量方法”获得国家发明专利授权,其专利号为:ZL201210559910.4。
锆石是自然界中最常见的副矿物,通过锆石中的微量元素及锆石/岩浆微量元素分配系数的测定,可以确定出锆石形成时的温度、压力及当时的岩浆的组成,进而对地壳的组成及其演化进行研究。测量方法测出的结果往往具有数个数量级的差别,其主要原因在于锆石结构极其复杂,常常发育着环带结构和微小包裹体。此外,传统的测量方法很难确切的剥蚀到某条环带上,这也给测量结果带来了不确定性。
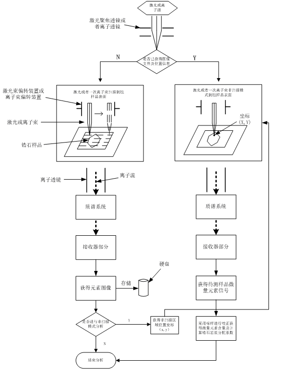
该发明公开了一种锆石微量元素及锆石/岩浆微量元素分配系数测量方法,主要分为两个步骤:第一步,通过激光或一次离子束扫描样品表面获得微量元素及基底元素图像,第二步通过获得到的微量元素的图像信息确定分析位置,偏转激光束或一次离子束到所选择的分析位置,以非扫描模式进行微量元素的含量的测量包括对锆石的微量元素的含量的测量以及对岩浆玻璃的微量元素的含量的测量。
该发明有效的避免了传统的锆石微量元素及锆石/岩浆微量元素分配系数测量方法中的锆石包裹体以及锆石环带对结果带来的影响,提高了锆石微量元素及锆石/岩浆微量元素分配系数测量的准确性,不仅可以用于锆石的微量元素及分配系数测量,同时还可扩展到其他矿物上。

流程图