近日,中科院800彩票地质工程与地质灾害学科组崔振东副研究员等发明人完成的“用于岩石断裂韧度测试的施力点位移检测装置及检测方法”获得国家发明专利授权,其专利号为:ZL201310071729.3。
V形切槽三点弯曲梁法是国际岩石力学学会建议的岩石断裂韧度测试方法。然而,在对岩石试样多次施加载荷时,岩石试样会发生形变,导致端板上的笔式引伸计位置不稳定,降低了施力点位移的检测精度。基于该背景,发明人从技术的新颖性、创造性和实用性三个方面出发,发明出一种用于岩石断裂韧度测试的施力点位移检测装置以及检测方法,以提高其检测精度。
新颖性方面,该检测装置包括轭架、两个位移传感器和夹具。对岩石试样加载时,轭架左右两端金属块与底座左右金属块之间的传感器不会由于岩石试样的变形而发生位置的变动,有利于消除三点弯试验夹具结构变形对施力点位移检测结果的影响,提高了施力点位移的检测精度。
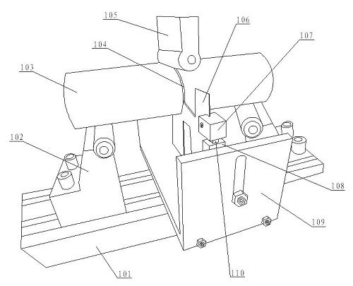
创造性方面,他们设计了一个底座,底座上左右侧壁上各有一个金属块,金属块可以沿着腰形槽上下移动,可以依据试样尺寸调整底座上的金属块的位置以便于夹紧引伸计。另外,设计了一个轭架,轭架插入三点弯曲梁试样的V形切槽中,并与试样固定在一起,在加载和卸载时,轭架与V形切槽三点弯曲梁试样一起上下移动,轭架左右两端各有一个金属块与底座上的左右金属块相对应。引伸计夹持在上述两对金属块之间,便于整体的结构平衡。

图1 底座夹具的结构示意图

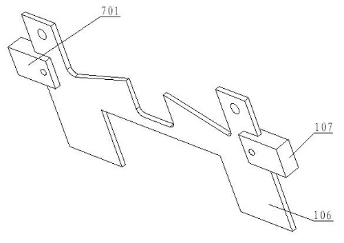
图2 轭架的结构示意图
实用性方面,该发明结构简单,便于安装,测试过程中夹持引伸计的稳定性好,由于是左右两个引伸计同时检测,测试施力点位移的成功率高。即使有一个引伸计测试失败,还能保证有另一个引伸计测得施力点位移数据,如果两个引伸计均能成功测得施力点位移数据,便于互相对比验证,确保测试精度。

图3 用于岩石断裂韧度测试的施力点位移检测装置的结构示意图
他们运用该装置和方法进行测试,测试结果从测试效率、成功率和精度等方面跟国际岩石力学学会建议方法相比,几者都相对有所提高,证实了该装置和方法的有效性。